產品中心
一、技術參數

二、型號說明
本品依據GB11032-2010《交流無間隙金屬氧化物避雷器》,以HY5WS-17/50為例對其型號說明如下:
Y:金屬氧化物避雷器;
H:復合外套,無H即為瓷套;
5:標稱放電電流,因電壓等級而異;
W:無間隙,C:串聯間隙,B:并聯間隙;
S:配電型,Z:電站型,D:電機型,R:電容型,T:鐵道型:
17:避雷器額定電壓(kV),即允許加在避雷器上的****允許工頻電壓有效值,因型號和電壓等級而異。
50:標稱放電電流下****殘壓峰值(kV),因型號和電壓等級而異。
三、使用條件
1) 環境溫度:-40℃~+60℃;
2) 海拔高度:小于2000m(高于2000 m請選用高原型產品);
3) 額定頻率:48Hz~62Hz;
4)****風速不得超過35m/s;
5)地震裂度7度及以下地區;
四、試驗項目
1) 直流1mA參考電壓:在避雷器兩端施加直流電壓,待流過避雷器的電流穩定于1mA后,讀出的電壓數值,該值不得小于技術參數表中的規定值。
2) 泄漏電流:在避雷器的兩端施加0.75倍直流1mA參考電壓,此時流過避雷器的泄漏電流不大于50微安;
3) 不得對本產品進行工頻放電電壓試驗。
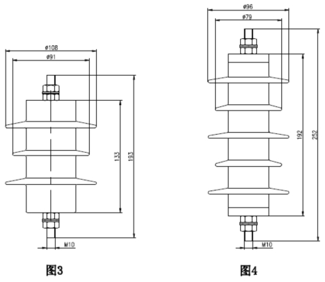
五、外形尺寸圖


